Hotline / 热线电话
Hours / 服务时间
9:00 AM - 18:00
PM
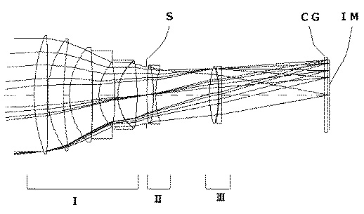
成都摄影培训在今年年前就开始为大家报道理光宾得的首部全画幅数码单反相机产品K-1的产品的消息,在宾得K-1出世之后,接下来,我们等待的就是宾得K-1的镜头群了。宾得的全画幅镜头还不是很多。
最近,我们收到消息,理光在日本对外公布了一款全画幅镜头专利技术。很显然,这款镜头是专为K-1设计的。据专利描述文件显示,宾得200mm f/2.8 ED IF DC长焦定焦镜头为8组10片的光学结构,内置1片ED镜片,并采用了内对焦式的设计。专利信息
